Модульная металлочерепица Максима

Описание

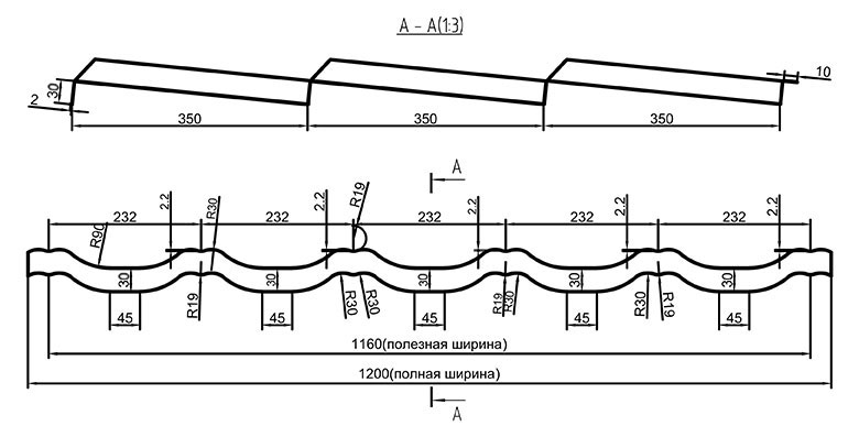
Внешне черепица «Максима» представляет собой стальные листы небольшого размера с пятью нижними волнами и шестью вершинами. Особым образом выполнены края стыков, они полностью повторяют форму волны металлочерепицы, что делает замковое соединение незаметным и герметичным (исключено попадание влаги в замок). Так же стоит обратить внимание на изгиб передней кромки, он оформлен наружу изделия, такое конструкторское решение предотвращает повреждение металлочерепицы (царапание поверхности) в местах стыковки модулей.

Цвета и покрытия

Модульную металлочерепицу «Максима» можно приобрести с различными видами покрытия:

  • Матовый алюминий.
  • Pural Matt от SSAB (RUUKKI).
  • Hiarc от SSAB (RUUKKI).
  • Purex от SSAB (RUUKKI).
  • Polyester от SSAB (RUUKKI).
  • Matt polyester от SSAB (RUUKKI).
  • 3D-MAT.
  • Spanish roof.
  • PRINTECH.
  • Матовый полиэстер.
  • Полиэстер “ЭКО”.
Не стоит забывать и о погодных факторах, при воздействии солнечных лучей на металлочерепицу происходит термическое расширение продукта и если кромка загнута вовнутрь изделия, упираясь острым концом в следующий модуль, то со временем будет нарушено защитное покрытие черепицы, что ведёт к образованиям очагов коррозии. Превосходный внешний вид металлочерепицы «Максима» обеспечивается также и высотой волны, что увеличивает прочность изделия.
Ещё одним преимуществом является то, что модульные элементы можно убирать (заменять), не разрушая всю конструкцию кровли, тогда как в случае с классической металлочерпицей при замене одного, двух листов нужно демонтировать всю крышу. Отличительной особенностью модульной металлочерицы «Максима» является отсутствие заводских отверстий, это даёт возможность использовать саморезы разных типоразмеров и марок, а также выбирать расстояние между креплениями на усмотрение заказчика.

Технические характеристики

Технические характеристики

Профиль модульной металлочерепицы "Максима" имеет следующие размеры: